

Amazon heeft een patent toegewezen gekregen voor een methode met behulp van parachutes voor het afleveren van pakketten tijdens dronebezorging.
Het U.S. Patent and Trademark Office heeft dinsdag een patent goedgekeurd waarin een methode wordt beschreven voor het veilig afleveren van pakketen naar de grond tijdens Amazon's dronebezorging-proces, dit meldt CNN.
Met name het droppen van het pakket lijkt het moeilijkste onderdeel tijdens het dronebezorging proces. In voorgaande Amazon video's is te zien dat de drone in zijn geheel naar de grond komt om het pakket op de grond te zetten. Ook was er een soort mat als landingsplat te zien.

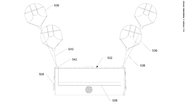
In het goedgekeurde patent is te zien dat Amazon overweegt gebruik te maken van parachutes voor de aflevering van pakketjes. Op het eerste gezicht wellicht een vreemde constructie, maar toch wel een veilige en efficiënte manier. De drones hoeven niet te landen, waardoor de bezorging nog sneller kan verlopen. Ook komen de drones niet in aanraking met mensen op de grond, dat met oog op veiligheid ook voordelen biedt.

In het patent wordt ook beschreven hoe Amazon magneten, parachutes en veerwindingen gebruikt om zelfs tijdens de vlucht pakketten te kunnen droppen. Ook zou Amazon's drone monitoren of het pakket succesvol is afgeleverd.

Het patent beschrijft zelfs de mogelijkheid dat de drone op afstand bepaalde parachutes op de hoeken van het pakket kan openen om zo de richting van het pakket te beïnvloeden wanneer er bijvoorbeeld sprake is van wind.
Concurrent Flirtey, het bedrijf dat de eerste officiële dronebezorging in de Verenigde Staten met toestemming van de Amerikaanse luchtvaartautoriteit FAA uitvoer, werkt met een systeem met een touw waaraan het pakket naar beneden wordt getakeld.
Amazon houdt niet op met de ontwikkeling en ideeën voor haar revolutionaire dronebezorging plannen. In december meldden we nog dat Amazon een patent toegewezen heeft gekregen voor 'Airborne Fulfillment Centers'.
DRONES.nl biedt een verzameling van nieuwsberichten over drones in categorieën als: Drones, Accessoires, Luchtfotografie, FPV racing, Evenementen, Technologie, Bezorging en Opmerkelijk.
Naast nieuws vind je ook video’s , bedrijven, events en forum over drones, oftewel de kleine vliegtuigjes zonder piloot ook wel aangeduid als multicopters, quadcopters, hexacopters, octocopters, helikopters, UAV en andere onbemande luchtvaartuigen en op afstand bestuurbare vliegtuigjes.
Via de handige dronevergelijker kun je razendsnel alle drones zoeken op basis van bepaalde kenmerken. Via de zoekmachine vind je alle populaire modellen drones van bekende merken.
[message]