

Een patent, ingediend door een medewerker van GoPro's drones-team, toont een design van een drone dat mogelijk het uiterlijk van de nieuwe Karma drone betreft.
De website PatentYogi heeft een patent onder de aandacht gebracht dat een mogelijk beeld geeft van het design van GoPro's Karma drone. Het patent werd vorig vorige week gevonden door de website en is ingediend door Ryan Goldstein, die werkt als Mechanical Engineer in de Aerial Products division of GoPro.

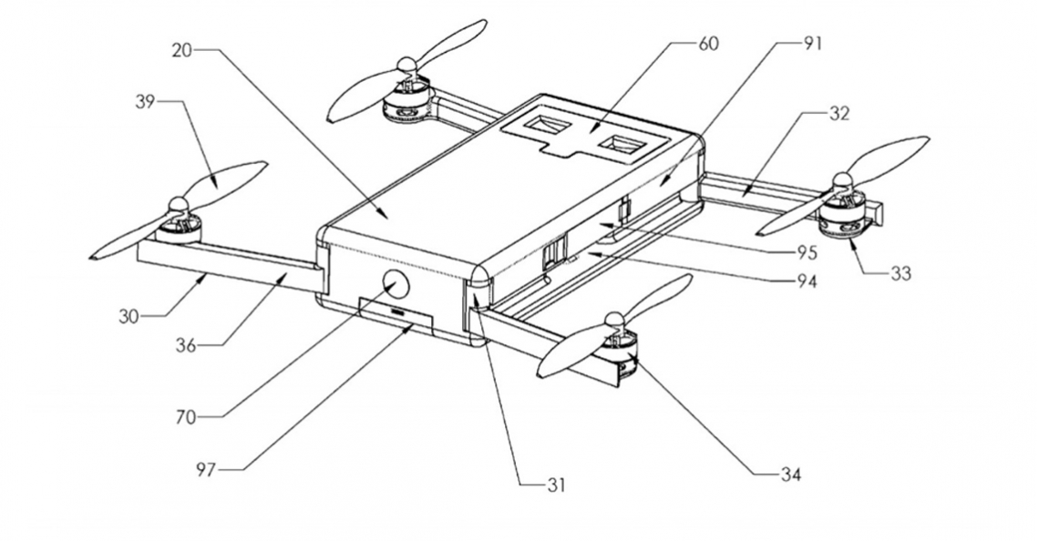
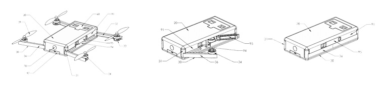
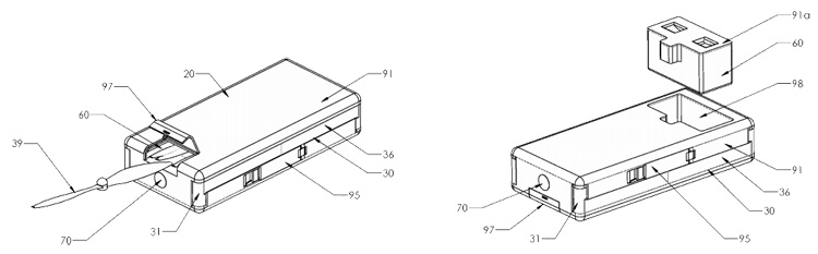
Het patent spreekt over de "QuadBox", een rechthoekige doos met veerpoten en propellers die zijn uit te vouwen om te vliegen. Zoals te verwachten, is er een GoPro te monteren op de bovenkant van het chassis.

De armen van de quadcopter zijn inklapbaar zodat de drone letterlijk een compacte doos wordt. Voordat de armen ingeklapt worden, dienen de propellers eerst te worden verwijderd. Via een speciale opbergruimte in het ontwerp van de drone kunnen de propellers worden opgeborgen tijdens transport.

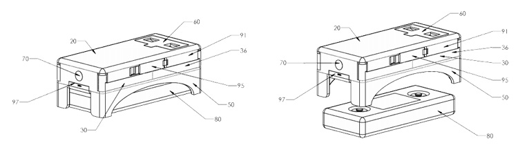
De pantenten laten zien dat de drone een verwisselbare accu heeft en toont een afstandsbediening even groot als de drone zodat deze als het ware samen te klikken zijn.

Het octrooi maakt gebruik van het voorbeeld van een rechthoekige doos, maar spreekt ook over mogelijkheden voor een bolvormige of cilindrische basis.

Het ontdekte patent kan los staan van GoPro's nog te lanceren Karma drone, maar het ontwerp past wel bij een camera-bedrijf als GoPro. Het bedrijf is gespecialiseerd in het ontwerpen van compacte camera's, die overal mee naar toe zijn te nemen, dus het ontwerp van een compacte box met opvouwbare armen past helemaal in lijn met deze strategie.
Het is geen nieuws dat GoPro binnenkort met een nieuwe drone op de markt komt. Na de tegenvaller dat DJI haar eigen camera's ging gebruiken, besloot GoPro haar eigen drone te maken.
Als camera-bedrijf kon een vliegende camera natuurlijk niet in het aanbod van GoPro ontbreken. CEO Nick Woodman vertelde tijdens de CES 2016 dat GoPro's Karma drone in de eerste helft van 2016 zou verschijnen.
Na dit nieuws verschenen er video's gemaakt de Karma drone, maar het apparaat zelf werd niet getoond. In mei dit jaar kondigde GoPro aan dat de lancering van haar Karma drone werd uitgesteld naar het einde van het jaar. Het Amerikaanse bedrijf hoopt de drones voor de decembermaand in de schappen te hebben.
Net zoals veel bedrijven - denk aan de vele crowdfunding flaters - heeft GoPro waarschijnlijk het proces van ontwikkeling van een drone onderschat waardoor het bedrijf de productie niet op tijd klaar kon krijgen voor het beloofde termijn. Ook hebben andere drones zoals DJI's Phantom 4, Yuneec's Typhoon H en Powervision Poweregg de lat erg hoog voor GoPro gelegd.

DRONES.nl biedt een verzameling van nieuwsberichten over drones in categorieën als: Drones, Accessoires, Luchtfotografie, FPV racing, Evenementen, Technologie, Bezorging en Opmerkelijk.
Naast nieuws vind je ook video’s , bedrijven, events en forum over drones, oftewel de kleine vliegtuigjes zonder piloot ook wel aangeduid als multicopters, quadcopters, hexacopters, octocopters, helikopters, UAV en andere onbemande luchtvaartuigen en op afstand bestuurbare vliegtuigjes.
Via de handige dronevergelijker kun je razendsnel alle drones zoeken op basis van bepaalde kenmerken. Via de zoekmachine vind je alle populaire modellen drones van bekende merken.
[message]