

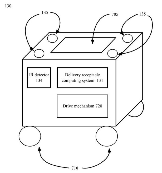
Als het aan Google ligt vliegen in 2017 de eerste bezorgdrones door de lucht om consumenten hun pakketjes binnen slechts enkele uren na de bestelling te bezorgen. Om de pakketjes te ontvangen heeft Google een patentaanvraag ingediend voor een speciale bak met wieltjes.
Google werkt al langere tijd aan het Project Wing waarbij drones pakketten moeten bezorgen. Eind vorig jaar verschenen de eerste beelden van het onbemande luchtvaartuig. Nu heeft Google een patent aangevraagd voor een speciale bak op wieltjes waarin de pakketjes makkelijk en veilig bezorgd kunnen worden.
google-ontwikkeld-speciale-ontvangstbak-voor-drone-bezorging-project-wing-2016
De ontvangstbak is uitgerust met infrarood waarmee hij via infraroodsignalen de drone naar zich toe lijdt. Wanneer het pakketje bezorgt is, rijdt de bak naar een veilige locatie zoals je voordeur of je garage. Het is niet bekend of de bak wordt afgesloten na bezorging om bijvoorbeeld te beschermen tegen slecht weer of dieven.
Ook DHL werkt aan de ontwikkeling van een bezorgdrone. Onlangs presenteerde zij hun nieuwe Parcelcopter 3. Deze bezorgt echter niet op de stoep van de consument maar bij een speciaal gebouwde Skyport. Dit beveiligde gebouw heeft een dak die binnen drie minuten open en dicht kan. De consument kan zijn pakketje via een computer systeem vervolgens bij de Skyport afhalen.
dhl-parcelcopter-3-drone-pakketbezorging-onbemand-luchtvaartuig-skyport-landing-duitsland-2016
DRONES.nl biedt een verzameling van nieuwsberichten over drones in categorieën als: Drones, Accessoires, Luchtfotografie, FPV racing, Evenementen, Technologie, Bezorging en Opmerkelijk.
Naast nieuws vind je ook video’s , bedrijven, events en forum over drones, oftewel de kleine vliegtuigjes zonder piloot ook wel aangeduid als multicopters, quadcopters, hexacopters, octocopters, helikopters, UAV en andere onbemande luchtvaartuigen en op afstand bestuurbare vliegtuigjes.
Via de handige dronevergelijker kun je razendsnel alle drones zoeken op basis van bepaalde kenmerken. Via de zoekmachine vind je alle populaire modellen drones van bekende merken.
[message]